Optical Resolution: Up to 0.08nm
Compact Design of the High-Resolution Spectrometer: Palm-sized for easy operation
Optical Path: Crossed asymmetric C-T configuration with interference filter for second-order diffraction suppression
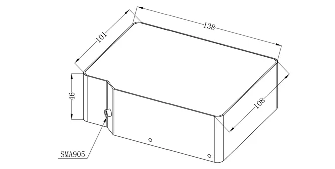
Fiber Connectivity: SMA905 fiber optic connector for seamless integration with external devices
Flexible Configuration: Selectable wavelength range and optical resolution
Interface: USB 2.0 for simultaneous data transfer and power supply
Communication Protocol: RS232 support
Triggering Options: Multiple trigger modes available
Advanced Software: Automated peak wavelength and bandwidth calculation
Customization: This kind of Brolight high-resolution spectrometer supports SDK for secondary development and OEM integration
Laser center wavelength, FWHM and stability measurement
Emission & absorption spectrum measurement
Transmittance & absorbance testing
Fluorescence detection
Color measurement
LED/LIBS measurement
Solar energy spectrum testing
Model | BIM-6601A Series |
Wavelength Range | 315nm-1100nm optional |
Resolution | ~0.08nm |
Fiber Connector | SMA905 |
Detector Type | TCD1304,liner CCD |
Detector Pixel | 3648 pixel,each pixel 8μm×200μm |
Signal to noise ratio | 300:1 |
A/D Resolution | 16 bit |
Integrating Time | 4ms -10s |
Dynamic Range | 300:1 |
Trigger Model | Normal Mode, Software, Hardware, Synchronization Trigger |
Power Consumption | 250mA,5VDC |
Operating Temperature | 5℃-35℃(25℃ recommended) |
Communication Interface | USB2.0(12Mbps) RS232(115200bps) |
Operation System | WinXP, Win7, Win8, Win10 |
linearity | >99% |
Power Supply | USB |
Dimension | 140mm×110 mm×46 mm |
Weight | 0.7 Kg |
# | Part description | Qty. |
1 | spectrometer | 1 |
2 | USB cable | 1 |
3 | Calibration Report (QRCode for download of Software & Manual) | 1 |
4 | Packing box | 1 |
Model | Model with Configuration | Wavelength Range | Resolution |
BIM-6601A-01 | BIM-6601A-01-S03L00F00G10 | 400-620 nm | ~0.3 nm |
BIM-6601A-02 | BIM-6601A-02-S02L00F08G08 | 890-990 nm | ~0.15 nm |
BIM-6601A-03 | BIM-6601A-03-S02L00F00G08 | 1005-1080 nm | ~0.15 nm |
BIM-6601A-03 | BIM-6601A-03-S02L00F08G08 | 1005-1080 nm | ~0.15 nm |
BIM-6601A-04 | BIM-6601A-04-S02L00F08G08 | 750-870 nm | ~0.15 nm |
BIM-6601A-05 | BIM-6601A-05-S02L00F08G27 | 900-1100 nm | ~0.2 nm |
BIM-6601A-06 | BIM-6601A-06-S02L00F00G08 | 355-495 nm | ~0.15 nm |
BIM-6601A-07 | BIM-6601A-07-S02L00F00G08 | 510-650 nm | ~0.15 nm |
BIM-6601A-08 | BIM-6601A-08-S01L00F08G08 | 900-1000 nm | ~0.1 nm |
BIM-6601A-09 | BIM-6601A-09-S01L00F00G25 | 300-750 nm | ~0.4 nm |
BIM-6601A-10 | BIM-6601A-10-S01L00F00G10 | 445-655 nm | ~0.1 nm |
BIM-6601A-11 | BIM-6601A-11-S01L00F08G28 | 697-1137 nm | ~0.4 nm |
BIM-6601A-12 | BIM-6601A-12-S02L00F08G08 | 725-845 nm | ~0.15 nm |
BIM-6601A-13 | BIM-6601A-13-S01L00F08G29 | 810-1095 nm | ~0.2 nm |
BIM-6601A-14 | BIM-6601A-14-S01L00F00G30 | 380-482 nm | ~0.08 nm |
BIM-6601A-15 | BIM-6601A-15-S01L00F00G30 | 360-460 nm | ~0.08 nm |
BIM-6601A-15 | BIM-6601A-15-S01L02F00G30 | 350-450 nm | ~0.08 nm |
BIM-6601A-15 | BIM-6601A-15-S01L01F08G30 | 680-730 nm | ~0.08 nm |
BIM-6601A-15-S01L02F08G30 | ~0.08 nm | ||
BIM-6601A-16 | BIM-6601A-16-S01L00F00G30 | 510-605 nm | ~0.08 nm |
BIM-6601A-17 | BIM-6601A-17-S01L01F08G27 | 800-1000 nm | ~0.1 nm |
BIM-6601A-18 | BIM-6601A-18-S02L00F08G08 | 570-690 nm | ~0.15 nm |
BIM-6601A-19 | BIM-6601A-19-S02L02F05G12 | 380-900 nm | ~0.8 nm |
BIM-6601A-20 | BIM-6601A-20-S01L01F11G34 | 400-840 nm | ~0.4 nm |
BSV spectrum software
